IHMC Public Cmaps

        ITIS LANCIANO QUINTA B ELN 09_10
            Donatelli Matteo - Di Paolo Maurizio (MOTORE PASSO-PASSO E ATTUATORI PNEUMATICI)
            Foto

                cilindro pneumatico 67.jpg
                cilindro pneumatico esercitazione_2.gif
                Driver per motori passo-passo.jpg
                igbt.jpg
                Motore a riluttanza variabile.jpg
                motore-elettrico-passo-passo-con-encoder-154767.jpg
                motore-elettrico-passo-passo-ibrido-386407.jpg
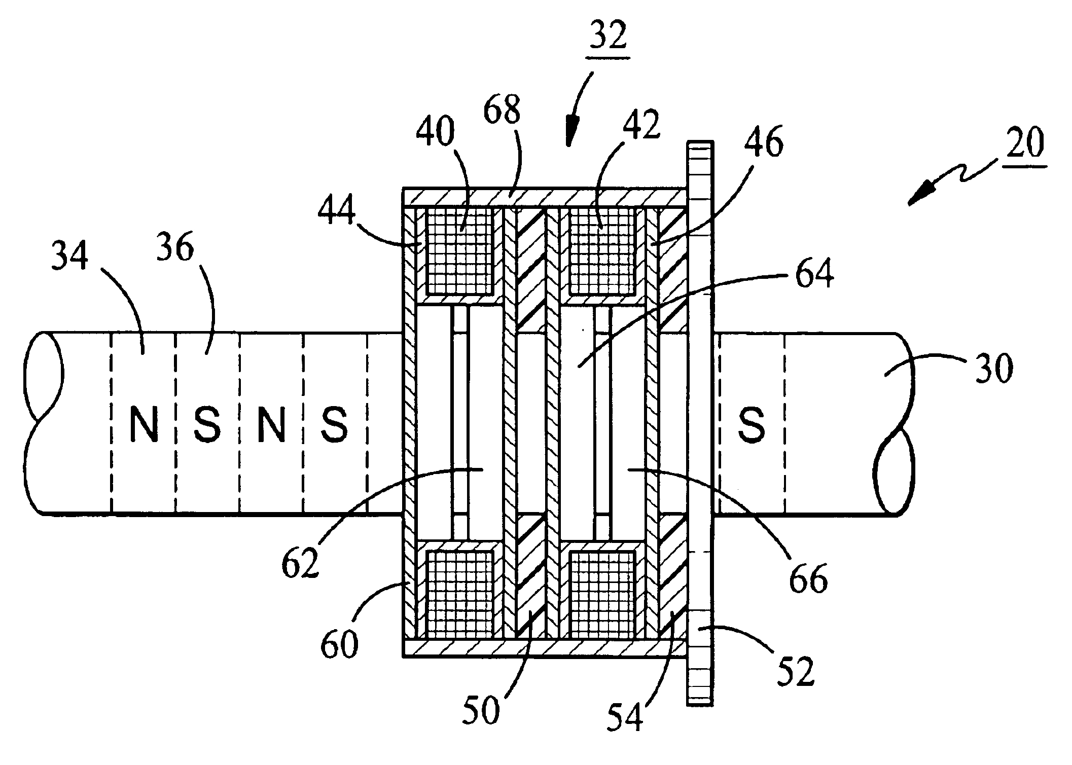
                Motore passo passo.jpg
                Motore passo passo a magnete permanente.jpg
                motore pneumatico 400px-GasTurbine.svg.png
                motore-pneumatico-ingersoll-rand-bg.jpg
                planetary-gearbox-for-stepper-motors-154602.jpg
                Prova MOSFET GB137-01.jpg
                step.jpg
                stepper3.jpg
                Struttura di un motore passo passo a riluttanza variabile.gif
                Struttura interna di un motore passo passo a magnete permanente.png
                Struttura interna di un motore passo passo ibrido.jpg
                valvola elettropneumatica descal3.gif
                valvola elettro pneumatica valve-electro-pneumatic.jpg